ГОСТ Р 50434-92
(ИСО 8867-1-88)
Группа П82
ГОСУДАРСТВЕННЫЙ СТАНДАРТ РОССИЙСКОЙ ФЕДЕРАЦИИ
УСТРОЙСТВА ЧИСЛОВОГО ПРОГРАММНОГО УПРАВЛЕНИЯ
ДЛЯ МЕТАЛЛООБРАБАТЫВАЮЩЕГО ОБОРУДОВАНИЯ
Производственный канал асинхронной передачи данных
и физический уровень. Полудуплексная передача данных
Industrial asynchronous data link and physical layer - Physical
interconnection and two-way alternate communication
ОКСТУ 0034
Дата введения 1994-07-01
ИНФОРМАЦИОННЫЕ ДАННЫЕ
1. РАЗРАБОТАН И ВНЕСЕН Техническим комитетом "Системы промышленной автоматизации и интеграции" ТК 69
РАЗРАБОТЧИКИ
Б.И.Черпаков, Ю.А.Архипов, Г.Я.Громова, Е.В.Корягина
2. УТВЕРЖДЕН И ВВЕДЕН В ДЕЙСТВИЕ Постановлением Госстандарта России от 16.12.92 N 1543
Стандарт подготовлен методом прямого применения международного стандарта ИСО 8867-1-88 "Производственный канал асинхронной передачи данных и физический уровень. Полудуплексная передача данных" и дополнен приложениями С - вариант физического уровня канала связи (тип ИРПС) и D - дополнительный вариант вычисления ПП
3. Срок проверки - 1997 г., периодичность проверки - 5 лет
4. ВВЕДЕН ВПЕРВЫЕ
0. ВВЕДЕНИЕ И НАЗНАЧЕНИЕ
0. ВВЕДЕНИЕ И НАЗНАЧЕНИЕ
ГОСТ 28906 "Системы обработки информации. Взаимосвязь открытых систем. Базовая эталонная модель" (ИСО 7498) представляет инфраструктуру обмена информацией между системами с иерархической архитектурой. Это положение используется в определении соединений между ЭВМ верхнего уровня и станками с ЧПУ или другим оборудованием в автоматизированном производстве.
Настоящий стандарт описывает физические интерфейсы и протоколы связи при соединении "точка-точка" между программируемыми устройствами, такими как: станки с ЧПУ, промышленные роботы, программируемые контроллеры, измерительное или другое оборудование автоматизированного производства, - с ЭВМ верхнего ранга. Применяемый протокол связи гарантирует надежную передачу данных. Данные передаются последовательно по битам в асинхронном режиме.
Настоящий стандарт функционально соответствует 1-му (физическому) уровню и 2-му (уровню звена данных), описанным в ГОСТ 28906.
1. ССЫЛКИ
Настоящий стандарт содержит ссылки на перечисленные ниже стандарты, в результате чего положения этих стандартов становятся положениями настоящего стандарта.
1.1. Государственные стандарты и эквивалентные им международные стандарты, на которые даны ссылки в настоящем стандарте:
ГОСТ 27463-87 (ИСО 646-83) "Системы обработки информации. 7-битные кодированные наборы символов";
ГОСТ 28082-89 (ИСО 1177-81) "Системы обработки информации. Методы обнаружения ошибок при последовательной передаче данных";
ГОСТ 22731-77 (ИСО 1745-75, 2111-85, 2628-73) "Системы передачи данных. Процедуры управления звеном передачи для данных в основном режиме для полудуплексного обмена информацией";
ИСО 2110-80* "Передача данных - 25-контактный разъем DTE/DCE интерфейса и назначение контактов";
_________________
* До прямого применения данного документа в качестве государственного стандарта распространение его осуществляет ВНИИКИ.
ГОСТ 24402-88 (ИСО 2382-84) "Телеобработка данных и вычислительные сети. Термины и определения";
ГОСТ 19768-74* (ИСО 4873-86) "Машины вычислительные и системы обработки данных. Коды 8-битные для обмена и обработки информации";
__________________
* Действует ГОСТ 19768-93. - Примечание изготовителя базы данных.
ИСО 4902-80* "Передача данных - 37-контактный разъем DTE/DCE интерфейса и назначение контактов";
ИСО 4903-80* "Передача данных - 15-контактный разъем DTE/DCE и назначение контактов";
__________________
* До прямого применения данного документа в качестве государственного стандарта распространение его осуществляет ВНИИКИ.
ГОСТ 28906-91 (ИСО 7498-84) "Системы обработки информации. Взаимосвязь открытых систем. Базовая эталонная модель";
ИСО 8481-86* "Передача данных. Физическое соединение от DTE к DTE, использующее цепи взаимосвязи Х.24 с DTE при условии синхронизации".
__________________
* До прямого применения данного документа в качестве государственного стандарта распространение его осуществляет ВНИИКИ.
1.2. Государственные стандарты и эквивалентные им рекомендации МККТТ, на которые даны ссылки в тексте настоящего стандарта.
ГОСТ 23675-79 (МККТТ Рекомендации V.11-84, V.28-84) "Цепи стыка С2-ИС системы передачи данных. Электрические параметры";
ГОСТ 18145-81 (МККТТ Рекомендация V.24-84) "Цепи на стыке С2 аппаратуры передачи данных с оконечным оборудованием при последовательном вводе-выводе данных. Номенклатура и технические требования";
МККТТ Рекомендации Х.20-84* "Интерфейс между оконечным оборудованием данных (DTE) и аппаратурой передачи данных (DCE) для старт/стопной передачи в сети передачи данных общего пользования (PDN)";
МККТТ Рекомендация Х.21-84* "Интерфейс между оконечным оборудованием данных (DTE) и аппаратурой передачи данных (DCE), для синхронного режима в сети передачи данных общего использования";
МККТТ Рекомендация X.24-84* "Перечень определений для цепей обмена между оконечным оборудованием данных (DTE) и аппаратурой передачи данных (DCE) в сети передачи данных общего пользования".
_______________
* До прямого применения данного документа в качестве государственного стандарта распространение его осуществляет ВНИИКИ.
2. ОПРЕДЕЛЕНИЯ И АББРЕВИАТУРЫ ПЕРЕДАВАЕМЫХ УПРАВЛЯЮЩИХ СИМВОЛОВ
Настоящий раздел стандарта устанавливает определения следующих символов, приведенных в ГОСТ 22731.
2.1. Переключение Звена Данных (AP1) -
Date Link Escape (DLE):
Управляющий символ передачи данных, формирующий со следующим за ним 8-битным символом, управляющую функцию передачи в виде управляющей последовательности символов.
В последовательностях AP1 могут быть применены только те символы, которые перечислены в п.5.1.
2.2. Запрос (AP1 КТМ) -
Enquiru (DLE ENQ):
Управляющая последовательность символов, используемая в качестве запроса для получения ответа от удаленной станции, а также для ходатайствования о повторной передаче последнего ответа (ЧПО N/AP1 НЕТ).
2.3. Прерывание блока -
Block abort:
Передающая станция может послать управляющую последовательность AP1 КТМ в произвольный момент передачи данных.
Передача должна быть прекращена и сообщение стерто. Принимающая станция может ответить AP1 НЕТ. Последовательность AP1 не может быть прервана.
2.4. Конец Передачи (AP1 КП) -
End of transmission (DLE EOT):
Управляющая последовательность, исходящая от передающей станции, и означающая окончание передачи или ее аварийное завершение.
2.5. Прерывание -
Abort:
Управляющая последовательность AP1 КП используется принимающей или передающей станциями для прерывания передачи.
Когда имеет место прерывание, оно должно быть реализовано одновременно обеими передающими и принимающими станциями.
2.6. Отрицательное подтверждение (AP1 НЕТ) -
Negative acknowledge (DLE ETX):
Управляющая последовательность символов, передаваемая принимающей станцией в качестве отрицательного ответа для передающей станции, в случае, когда она не готова к приему или когда переданные данные были неправильно приняты.
2.7. Конец Текста (AP1 КT) -
End of text (DLE ETX):
Управляющая последовательность AP1 КT указывает на конец текста. AP1 КT указывает, что следующий за ней символ последовательности проверки блока (ПП) подлежит использованию для контроля блока. AP1 КT всегда учитывается (включается) при контроле блока.
2.8. Начало Текста (AP1 HT) -
Start of text (DLE STX):
Управляющая последовательность AP1 HT располагается непосредственно перед текстом.
AP1 HT не учитывается (не включается) при контроле блока. AP1 HT переводит звено данных в режим передачи текста сообщения.
2.9. ЧПО - Чередующиеся Положительные Ответы
(AP1 0 и AP1 1) -
АСК N - Alternating positive responses
(АСК 0 and АСК 1) (DLE 0 and DLE 1):
Эти управляющие последовательности применяются в качестве положительных ответов в фазе передачи текста, начиная с AP1 и далее попеременно.
AP1 0 применяется также в качестве положительного ответа в фазе установления связи.
2.10. ОППП - Ожидание После Положительного Подтверждения
(AP1 ;) -
WACK - wait after positive acknowledgement (DLE ;);
:
Управляющая последовательность AP1;, исходящая от принимающей станции в качестве альтернативного положительного ответа для передающей станции, и указывающая, что принимающая станция временно не готова к приему данных. Она используется вместо AP1 0 или AP1 1.
2.11. Положительное подтверждение с прерыванием (AP1 ) -
Positive acknowledgement with interrupt (DLE)
:
Управляющая последовательность, исходящая от принимающей станции в качестве положительного подтверждения с прерыванием. Используется вместо нормального положительного подтверждения приема сообщения AP1 0 или AP1 1.
Передающая станция отвечает последовательностью AP1 КП.
Double DLE (DLE DLE):
2.12. Двойной AP1 (AP1 AP1) -
Последовательность символов, указывающая на то, что один из символов AP1 передается в качестве данных, а не символа.
Примечания.
Управляющие последовательности AP1 НЕТ и AP1 КТМ определены в ГОСТ 22731 (ИСО 1745).
Управляющие последовательности AP1 КT и AP1 HT определены в ГОСТ 22731 (ИСО 2111).
Управляющие последовательности AP1 0 и AP1 1 определены в ГОСТ 22731 (в приложении к ИСО 1745).
Управляющая последовательность AP1 определена в ГОСТ 22731 (ИСО 2628).
Эта управляющая последовательность не определена в ИСО 1745.
Управляющая последовательность определена в ГОСТ 22731.
3. СКОРОСТЬ ПЕРЕДАЧИ ДАННЫХ
Интерфейс должен обеспечивать следующие скорости передачи данных:
600; 1200; 2400; 4800; 9600 бит/с,
дополнительно рекомендуются скорости передачи:
110; 300; 19200 бит/с.
Примечание. Скорость 19200 бит/с в Рекомендациях МККТТ отсутствует.
4. ФИЗИЧЕСКИЙ УРОВЕНЬ (Уровень 1)
4.1. Механический интерфейс
Согласно ИСО рекомендуются к применению два различных механических интерфейса: 37-контактный разъем (ИСО 4902) или 15-контактный разъем (ИСО 4903).
4.2. Электрический интерфейс
Должен применяться электрический интерфейс, соответствующий ГОСТ 23675.
4.3. Цепи обмена
Цепи обмена зависят от применяемого механического интерфейса.
Примечание. Для коротких цепей, могут по согласованию использоваться несимметричные цепи стыка, соответствующие ГОСТ 23675 с рекомендуемым ИСО 25-контактным разъемом (распределение контактов см. ИСО 2110).
4.3.1. МККТТ V.24/ИCO 4902
Цепи обмена и назначение контактов 37-контактного разъема даны в табл.1 и показаны на черт.1.
Таблица 1
Применение цепей обмена типа V.24 с 37-контактным разъемом
в соответствии с ИСО 4902 и соединение управляющих цепей обмена
| Номер контакта | Назначение цепи обмена |
| 1 | Экран |
| 19 | 102 Сигнальное заземление для общего обратного провода |
| 4 | 103 Передаваемые данные |
| 22 | 103 Передаваемые данные |
| 6 | 104 Принимаемые данные |
| 24 | 104 Принимаемые данные |
| 9 | 106 Готов к передаче |
| 27 | 106 Готов к передаче |
| 12 | 108 Оконечное оборудование данных готово |
| 30 | 108 Оконечное оборудование данных готово |
Примечание. Эта версия не может применяться при взаимодействии с модемами типа V.
Черт.1. Соединение контактов
Соединение контактов

Примечание. Эта схема использует упрощенную версию соединений контактов цепей обмена, которая не была включена в ИСО/ТО 7477.
Черт.1
4.3.2. МККТТ Х.24/ИСО 4903
Цепи обмена и назначение контактов 15-контактного разъема для сети передачи данных общего пользования даны в табл.2 и показаны на черт.2.
Таблица 2
Применение цепей обмена типа Х.24 с 15-контактным разъемом в соответствии с ИСО 4903
| Номер контакта | Назначение цепи обмена |
| 1 | Экран |
| 8 | З Сигнальное заземление или общий обратный провод |
| 2 | ПД (А) Передаваемые данные или общий |
| 9 | ПД (В) обратный провод За ООД |
| 4 | ПрД (А) Принимаемые данные или общий |
| 11 | ПрД (В) обратный провод 3б ООД |
Пояснения. Вспомогательный контакт "Экран" предназначен для соединения экранов следующих друг над другом секций экранированного кабеля связи.
З - сигнальное заземление или общий обратный провод.
ПД - данные, передаваемые Оконечным Оборудованием Данных (ООД). Эта цепь поддерживается в режиме ожидания в двоичном состоянии "1".
ПрД - Принимаемые Данные Оконечного Оборудования Данных (ООД).
Черт.2. Соединение контактов
Соединение контактов

Примечание. Эта версия согласования соответствует ИСО 8481 и обеспечивает взаимодействие интерфейсов типа Х.20 и Х.21, определенных Рекомендациями МККТТ, в сети передачи данных общего пользования при скоростях до 9600 бит/с.
Черт.2
4.3.3. Взаимодействие МККТТ V.24/ИCO 4902 с МККТТ Х.24/ИСО 4903.
Цепи обмена и назначения контактов для взаимосвязи 37-контактного и 15-контактного разъемов показаны на черт.3.
Черт.3. Соединение контактов
Соединение контактов

Черт.3
4.4. Формат знака
Передаваемые знаки могут представлять собой произвольные знаки текста или определенные управляющие передачей символы (см. черт.4).
Черт.4. Формат знака
Формат знака

Примечание. Второй стоп бит может потребоваться в случае, когда участвуют мультиплексоры сети передачи данных общего пользования.
Черт.4
Формат знака включает следующие элементы:
а) 1 стартовый бит,
б) 8 информационных битов
- знаки текста, содержащие какую-либо 8-битовую комбинацию,
- управляющие символы (8-бит в соответствии с ГОСТ 27465),
в) 1 или 2 стоп бита (2 стоп бита присутствуют только в случае скорости передачи 110 бит/с).
За стартовым битом следует младший бит.
5. УРОВЕНЬ ЗВЕНА ДАННЫХ (Уровень 2)
Должен использоваться протокол связи, установленный ГОСТ 22731 для кодонезависимой передачи информации. При этом блоки текста используются без заголовка. Защита от ошибок реализуется в соответствии с ГОСТ 22731.
5.1. Управление передачей и знаки текста
Знак текста может быть представлен любым байтом.
Используемые управляющей (передачей) символы (УПС) приведены в перечне табл.3.
Таблица 3
Управляющий символы
| Обозначение | Представление колонка/строка | Шестнадцатиричное представление* | |
| русское | междунар. | ||
| AP1 | DLE | 1/0 | Х'90' |
| КТМ | ENQ | 0/5 | Х'05' |
| КП | EOT | 0/4 | Х'84' |
| КТ | ЕТХ | 0/3 | Х'03' |
| НЕТ | NAK | 1/5 | Х'95' |
| НТ | STX | 0/2 | Х'82' |
| ; | ; | 3/11 | Х'ВВ' |
| 1 | 1 | 3/1 | Х'В1' |
| 0 | 0 | 3/0 | Х'30' |
| | | 3/12 | Х'30' |
_______________
* Из ГОСТ 27463 - международная ссылочная версия (включает проверку на четность).
5.2. Кодонезависимая передача
Кодонезависимость передачи обеспечивается реализацией положений ГОСТ 22731.
5.3. Протокол звена данных
5.3.1. Передача сообщений
Протокол звена данных включает три фазы (см. табл.4):
- фазу установления звена данных,
- фазу передачи информации,
- фазу завершения.
Таблица 4
Передача сообщения
| П | Пр | П | Пр | П |
| AP1 КТМ | AP1 0 | AP1 НТ Текст AP1 ПП | AP1 1 | AP1 КП |
| Фаза установления звена данных | Фаза передачи информации | Фаза завершения | ||
Примечание. П - Передающая станция, Пр - Принимающая станция.
5.3.1.1. Фаза установления звена данных
До фазы установления звена данных обе станции должны находиться в нейтральном состоянии. Инициировать связь разрешается обеим станциям. В качестве примера инициализации см. п.5.3.4. Если станция захочет передать информацию, то она должна запросить противоположную станцию (принимающую станцию) о возможности приема текста. Запрос осуществляется передачей управляющей последовательности AP1 КТМ.
Если принимающая станция согласна войти в фазу передачи информации в качестве подчиненной, она должна передать управляющую последовательность AP1 0. После приема этой управляющей последовательности станция, желающая передать, может войти в фазу передачи информации в качестве главной.
Последовательность действий и учет возможных ошибочных ситуаций в фазе установления звена данных показаны в ГОСТ 22731 п.4 (ИСО 1745 черт.2).
Если передающая станция не получает правильное подтверждение или не получает никакого подтверждения в течение периода выдержки времени Т1 (см. п.5.3.2), она должна повторить запрос передачей управляющей последовательности AP1 КTM. Такой запрос может быть повторен ею до четырех раз. Последовательность действий и возможные ошибочные ситуации приведены в п.5.3.3.2.
Если передающая станция принимает управляющую последовательность AP1 НЕТ, это означает, что принимающая станция не может принять текст. Передающая станция должна прекратить процесс, послав управляющую последовательность AP1 КП.
Приоритет: В случае одновременной передачи AP1 КTM обеими станциями, имеет место конфликт, когда вместо ожидаемого АП1 О приходит AP1 КTM. В этом случае более низкий приоритет должна всегда иметь ЭВМ верхнего ранга.
Станция с более высоким приоритетом должна игнорировать полученную последовательность AP1 КTM, а станция с более низким приоритетом должна отменить свой запрос и послать последовательность AP1 0.
5.3.1.2. Фаза передачи информации
Передающая станция должна войти в фазу передачи информации посылкой последовательности AP1 HT. Принимающая станция должна войти в фазу передачи информации получением AP1 HT.
Блок текста может содержать максимально 512 байтов (произвольных 8-битовых комбинаций), без учета управляющих символов. Длина блока является переменной. Принимающая станция в основном режиме передачи подтверждает правильно принятый блок чередующимися положительными ответами, начиная с AP1 1 и затем чередуя его с AP1 0.
Если передающая станция приняла правильный сигнал подтверждения, она может послать следующий блок текста или войти в фазу завершения. Если принимающая станция хочет прервать передачу, то она должна передать положительное подтверждение АР1 после правильного приема текста. После этого передающая станция должна войти в фазу завершения.
В случае появления в тексте, подлежащем передаче, битовой комбинации, соответствующей AP1, должен быть вставлен дополнительный символ AP1 с целью идентификации этой битовой комбинации как текстового знака. Принимающая станция должна исключить один из двух последовательно переданных AP1. Оставшийся знак AP1 является частью (одним из знаков) передаваемого текста.
При обнаружении ошибки принимающая станция должна ответить последовательностью AP1 НЕТ и ждать новой передачи текста.
5.3.1.3. Фаза завершения
Последовательность AP1 КП используется передающей или принимающей станцией для прекращения передачи в какое-либо время. В случае прерывания обе станции принимающая и передающая должны быть одновременно разъединены.
5.3.2. Таймеры
Выдержки времени используют для защиты от неопределенных ситуаций, которые могут возникнуть из-за ошибок, например, неправильной передачи управляющей последовательности. Выдержки времени используются при запуске процедур восстановления в случае ошибок или для окончания передачи. Величины выдержек времени должны удовлетворять нижеследующим требованиям. Далее приведен перечень обязательных таймеров:
Т0: Выдержка времени, задаваемая Таймером Приема.
Принимающая станция инициализирует выдержку времени (равную удвоенному времени передачи блока) при получении ею управляющей последовательности AP1 HT. Если за это время не приходит управляющая последовательность AP1 КT, то принимающая станция не передает подтверждения и ждет приема.
Т1: Выдержка времени, задаваемая Таймером Ответа.
Передающая станция инициализирует выдержку времени Т1 (Т1Т2) передачей AP1 КТМ или ПП. Если в течение этого времени получен ответ от принимающей станции, то может быть осуществлено повторение последней передачи, повторение производится максимум четыре раза.
Т2: Выдержка времени Таймера Простоя.
Принимающая станция активизирует выдержку времени Т2 (Т1Т2) передачей любого из подтверждений AP1 0, AP1 1, АР1
или AP1 НЕТ. Если в течение этого времени не получена правильная передача от передающей станции (блок, заканчивающийся символами ПП, AP1 КТМ или AP1 КП), то принимающая станция возвращается в нейтральное состояние.
5.3.3. Защита от ошибок
5.3.3.1. Обнаружение ошибки
В соответствии с ГОСТ 22731 применяется метод контроля за счет избыточности, с помощью которого образуют Последовательность Проверки блока (ПП). Биты передаваемой последовательности знаков соответствуют коэффициентам некоего полинома, который подвергается делению (без остатка) по модулю 2 на порождающий полином вида:
![]()
Оставшийся от деления 16-битовый результат представляет собой Последовательность Проверки блока.
Использование последовательности битов в качестве коэффициентов полинома в передаваемой последовательности знаков начинается непосредственно после управляющей последовательности AP1 HT.
Образованные последовательности битов в виде последовательной 8-битовой комбинации заканчиваются непосредственно после управляющей последовательности AP1 КT.
Символ AP1, вставленный для идентификации назначения знака, игнорируется циклическим контролем за счет избыточности.
Передающая станция формирует последовательность проверки блока (ПП) в соответствии с вышеприведенным правилом и передает эту последовательность непосредственно после AP1 КT, начиная со старшего бита последовательности проверки блока.
Используя указанное выше правило, принимающая станция выявляет ошибки передачи, когда получает остаток в результате деления по модулю 2 конкретной последовательности битов на порождающий полином.
Выявление ошибки выполняется в соответствии с ГОСТ 22731.
5.3.3.2. Восстановление при ошибках
Управляющая последовательность AP1 КТМ должна быть повторена передающей станцией максимум четыре раза (в результате всего пять раз), при установлении фазы звена данных. Если в результате четырех повторений не будет получено правильное подтверждение, то эта станция должна передать последовательность AP1 КП и возвратиться в нейтральное состояние.
При приеме AP1 НЕТ, в фазе передачи информации также возможно максимум четырехкратное повторение.
В случае, когда на переданный блок не получено правильное подтверждение, передающая станция должна передать AP1 КТМ в качестве запроса на подтверждение. Если после пяти попыток не будет получено правильное подтверждение, передающая станция должна передать AP1 КП и возвратиться в нейтральное состояние. В случае получения принимающей станцией последовательности AP1 КТМ она может повторить последнее подтверждение.
5.3.4. Пример инициализации
| Передающая станция | Принимающая станция | ||||||
| Нормальная передача | |||||||
| (AP1 КП) |
| ||||||
| .... (звено данных разъединено) ...** | |||||||
| *(АР1 КП) |
| ||||||
| * (AP1 КТМ) |
| ||||||
| данных) | |||||||
| * | (АР1 0) | ||||||
| . . . . . . . . . . . . . . . . . . . . . . . . . . . . . . . . . . . . . . . . . . . . . . . . . . . . . . . . . . . . . . . . . . | |||||||
| Установление звена данных | |||||||
______________
* В течение этого интервала времени передающая станция должна игнорировать все сообщения за исключением АР1 0 и AP1 КТМ. Кроме того, передающая станция может принять AP1 КП. В этом случае передающая станция должна игнорировать последовательность AP1 КП.
** В течение этого интервала времени все передачи прекращаются.
ПРИЛОЖЕНИЕ А (информационное). ЗНАЧЕНИЯ ВЫДЕРЖЕК ВРЕМЕНИ ТАЙМЕРОВ
ПРИЛОЖЕНИЕ А
Информационное
Стандарт не устанавливает значения выдержек времени таймеров, однако, рекомендуемое ниже уравнение можно использовать для вычисления выдержек времени ТО Таймера Приема.
Приведенное ниже уравнение вычисляет значение выдержек времени таймера как функцию длины сообщения и скорости передачи данных.
ТО Таймер Приема в миллисекундах
,
где - максимальное число знаков (число задержек на передачу знака) (518 с учетом последовательности AP1 HT, AP1 КТ и ПП)
- число битов в знаке
- фактор задержки системы (
3. Фактор задержки системы определяется временем на передачу. Это значение является производным системы и конкретной реализации).
Наихудший случай представляет собой текст, который содержит только коды, равнозначные AP1, с добавленными для кодонезависимости символами AP1. В этом случае из-за присутствия дополнительных символов время передачи будет больше, чем время передачи байтов собственно текста. В связи с этим в уравнении рекомендуемое значение 3.
| Пример: Если | ||||
|
| ||||
|
| ||||
|
| ||||
ТО ТАЙМЕРА ПРИЕМА =3х518х10х=1619 мс
Аналогично:
Время выдержки других таймеров в миллиceкyндax
.
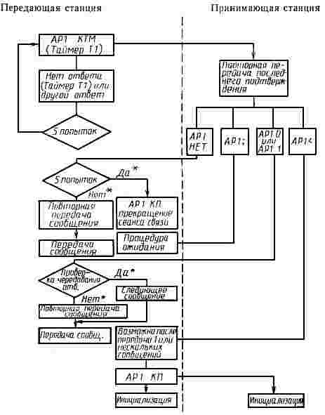
ПРИЛОЖЕНИЕ В (информационное). ДИАГРАММЫ ПРОЦЕДУР УПРАВЛЕНИЯ КАНАЛОМ СВЯЗИ
ПРИЛОЖЕНИЕ В
Информационное
Черт.5. Фаза установления звена данных
Фаза установления звена данных

_______________
* Приводится для большей наглядности. В ИСО 8867 отсутствует.
Примечание. Другие варианты возможных ответов и ошибочных ситуаций описаны в п.5.3.3.2.
Черт.5
Черт.6. Фаза передачи информации
Фаза передачи информации

_______________
* Приводится для большей наглядности. В ИСО 8867 отсутствует.
Черт.6
Черт.7. Процедура ожидания
Процедура ожидания

_____________
* Приводится для большей наглядности. В ИСО 8867 отсутствует.
Черт.7
Черт.8. Процедура восстановления
Процедура восстановления

_______________
* Приводится для большей наглядности. В ИСО 8867 отсутствует.
Черт.8
ПРИЛОЖЕНИЕ С (информационное)
ПРИЛОЖЕНИЕ С
Информационное
Физический уровень канала связи, изложенный в настоящем стандарте, использует функционально-электрическую реализацию связи по ГОСТ 23675.
Допускается вариант функционально-электрической реализации связи программируемых устройств с ЭВМ верхнего ранга по нормативному материалу НМ МПК по ВТ 10-78 "Система малых электронных вычислительных машин. Интерфейс для радиального подключения устройств с последовательной передачей информации ИРПС".
Номенклатура цепей обмена приведена на черт.9. Знаками " + " и "-" обозначено направление тока в петле.
Черт.9. Номенклатура цепей обмена и взаимосвязь по типу ИРПС
Номенклатура цепей обмена и взаимосвязь по типу ИРПС

ПД - передаваемые данные
ПрД - принимаемые данные
ГП1 - готовность к приему станции 1
ГП2 - готовность к приему станции 2
Черт.9
Параметры стыка ИРПС:
- максимальная длина цепи связи - 500 м;
- максимальная скорость передачи информации - 9600 Бод;
- каждая цепь связи должна питаться током со стороны передатчика (активный режим), допускается питание со стороны приемника (пассивный режим);
- схемы на приемной стороне должны быть защищены от повреждения при замыкании проводников в цепи связи;
- соединяемые станции должны быть гальванически разделены по электрическому заземлению, гальваническое разделение осуществляется всегда с той стороны цепи связи, которая не питается током; номинальное значение изоляционного напряжения гальванического разделения должно быть 500 В;
- максимальная длина фронтов сигналов в конце линии нагруженной на характеристическое сопротивление, не должна превышать 50 мкс;
- сигналы взаимосвязи должны приближаться к прямоугольной форме;
- любая схема, используемая как источник сигнального тока в цепи связи, должна быть выполнена так, чтобы отключение нагрузки, короткое замыкание выходных зажимов или короткое замыкание одного из выходных зажимов на землю не приводило к ее повреждению;
- крутизна фронтов сигналов, измененных на выходных зажимах передатчика, нагруженного сопротивлением 100 Ом, не должна быть больше 1 мкс;
- искажение вершины импульсов, измеряемое на выходных зажимах передатчика, нагруженного сопротивлением 100 Ом, не должно быть больше 5%;
- любое включение на приемной стороне (приемника) должно быть выполнено так, чтобы не приводило к повреждению при длительной нагрузке максимально допустимым током цепи связи;
- падение напряжения, измеряемого на выходных зажимах приемника в состоянии "1" в цепи связи, должно быть 2,5 В;
- входная емкость приемника должна быть 10 пФ;
- приемник должен работать при крутизне фронтов сигналов в диапазоне от 0 до 50 мкс;
- двухпроводная линия, используемая в цепи связи, должна быть выполнена витой парой;
- состоянию "1" в цепях связи соответствует ток от 15 до 25 Ма (20 Ма токовая петля), состоянию "0" - ток от 0 до 3 Ма.
ПРИЛОЖЕНИЕ D (информационное)
ПРИЛОЖЕНИЕ D
Информационное
При технических трудностях в реализации вычисления , проводимого по методу, указанному в приложении А, допускается использовать другой способ вычисления
. Отличие заключается только в вычислении
, которая является, как и в описанном выше методе (см. приложение А), 16-битовой последовательностью (2 байта).
есть результат арифметического сложения, производимого при передаче каждого байта, по формуле:
,
где
- результат циклического сдвига вправо
на 1 бит;
- очередной байт;
- бит переноса в результате сложения
.
Перед началом формирования устанавливается равной нулю. Передающая станция передает сформированную
сразу после последовательности AP1 КТ, начиная с младшего байта. Принимающая станция осуществляет аналогичную процедуру формирования
при приеме блока.
Равенство принятой и сформированной последовательностей проверки говорит о том, что ошибок при передаче не обнаружено.